Xiaomi Mi Mix Roll: Nowy patent na rolowany smartfon czerpie pełnymi garściami z projektu OPPO X 2021
W marcu tego roku mieliśmy okazję uczestniczyć w spotkaniu, na którym jeden z producentów wchodzących w skład grupy BBK zaprezentował pierwszy, w pełni użyteczny prototyp smartfona z rolowanym ekranem. Mechanizm rozkładania OPPO X 2021 sprawia wrażenie futurystycznego, ale najwyraźniej koncepcja zainteresowała również innych graczy. LG, z uwagi na rezygnację z udziału w rynku mobilnym, złożyło broń, natomiast Xiaomi patentuje model Mi Mix Roll. Dokumentacja złożona w Urzędzie Patentów i Znaków Towarowych Stanów Zjednoczonych zdradza szczegóły planów giganta z Państwa Środka. Pomysł Xiaomi istotne różni się od tego, co przygotowało OPPO. Choć premiera, szczególnie europejska, jest z pewnością odległa, warto zapoznać się ze szkicami będącymi integralną częścią wniosku.
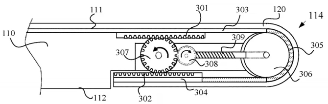
Do USPTO trafił właśnie wniosek patentowy ujawniający szczegóły rolowanego smartfona Xiaomi Mi Mix Roll. Odpowiedź na OPPO X 2021 wykorzystuje jednak nieco inny model rozwijania ekranu.
OPPO X 2021 na żywo – Sprawdziliśmy, jak działa pierwszy na świecie smartfon z rozwijanym ekranem
Wnioski patentowe mają do siebie to, że projekty, choć niezwykle interesujące, nie muszą być wykorzystane w produkcie końcowym. Niemniej, biorąc pod uwagę kierunek, w którym podążają producenci urządzeń mobilnych, śmiem twierdzić, iż Xiaomi Mi Mix Roll nie jest tylko wizją, a planem na rozszerzenie oferty w segmencie składanych smartfonów. O ile typowe konstrukcje, takie jak Samsung Galaxy Z Fold2 czy Galaxy Z Flip nie budzą już takich emocji, o tyle rolowane wyświetlacze stanowią niemałą ciekawostkę. Zainteresowanie rzeczonym rynkiem wykazują zarówno OPPO jak i Samsung, Google, Vivo i Huawei. Nas interesuje jednak Xiaomi, gdyż wpis traktuje o patencie tego konkretnego przedsiębiorstwa.
Test smartfona Samsung Galaxy Z Fold2 - ewolucja doskonała
Smartfon OPPO X 2021 rozciągał się z jednej strony, zwiększając tym samym realną przestrzeń robocza wyświetlacza. W Xiaomi Mi Mix Roll ekran będzie rozwijał się z obydwu stron równomiernie. Oznacza to, że kamera umieszczona w centralnym punkcie górnej części tylnego panelu nie będzie zmieniać swojego miejsca podczas rozsuwania mechanizmu. Jeśli chodzi o aspekt wizualny, interesująco zapowiada się to, że ekran nie będzie chowany do środka. Taka przynajmniej wynika z dokumentacji patentowej. Smartfon wykorzysta do rozwijania dwa niezależne silniki.
Powiązane publikacje

Apple iPhone 17 to najlepiej sprzedający się smartfon w Q1 2026. Wyprzedził modele Pro i budżetowce od Samsunga
63
Smartfony Google Pixel 11 jednak nie będą nudne? Modele Pro mają otrzymać coś na wzór interfejsu Glyph
21
Premiera vivo X300 FE. Oto nowy smartfon z wyższej półki, który zaskoczy Cię kompaktowym designem
42
Jubileuszowy iPhone z ekranem quad-curved i technologią COE. Apple szuka nowej drogi do bezramkowego frontu
36







![Xiaomi Mi Mix Roll: Nowy patent na rolowany smartfon czerpie pełnymi garściami z projektu OPPO X 2021 [1]](/image/news/2021/06/30_xiaomi_mi_mix_roll_nowy_patent_na_rolowany_smartfon_czerpie_pelnymi_garsciami_z_projektu_oppo_x_2021_0.jpg)
![Xiaomi Mi Mix Roll: Nowy patent na rolowany smartfon czerpie pełnymi garściami z projektu OPPO X 2021 [2]](/image/news/2021/06/30_xiaomi_mi_mix_roll_nowy_patent_na_rolowany_smartfon_czerpie_pelnymi_garsciami_z_projektu_oppo_x_2021_1.jpg)
![Xiaomi Mi Mix Roll: Nowy patent na rolowany smartfon czerpie pełnymi garściami z projektu OPPO X 2021 [3]](/image/news/2021/06/30_xiaomi_mi_mix_roll_nowy_patent_na_rolowany_smartfon_czerpie_pelnymi_garsciami_z_projektu_oppo_x_2021_2.jpg)
![Xiaomi Mi Mix Roll: Nowy patent na rolowany smartfon czerpie pełnymi garściami z projektu OPPO X 2021 [4]](/image/news/2021/06/30_xiaomi_mi_mix_roll_nowy_patent_na_rolowany_smartfon_czerpie_pelnymi_garsciami_z_projektu_oppo_x_2021_3.jpg)
![Xiaomi Mi Mix Roll: Nowy patent na rolowany smartfon czerpie pełnymi garściami z projektu OPPO X 2021 [5]](/image/news/2021/06/30_xiaomi_mi_mix_roll_nowy_patent_na_rolowany_smartfon_czerpie_pelnymi_garsciami_z_projektu_oppo_x_2021_4.jpg)





