Patent Google: firma rozważa zbudowanie modułowego smartfona
Jak podaje serwis Digitaltrends, Google z końcem 2018 roku złożyło patent o nazwie "Modular Device" (ang. urządzenie modułowe). Patent został oficjalnie opublikowany z końcem stycznia tego roku. Najwyraźniej Google nie przejmuje się faktem, jak skończył podobny projekt Ara oraz jak małym zainteresowaniem cieczył się smartfon LG G5. Mimo to, odkryty patent wskazuje, że firma wciąż wykazuje zainteresowanie modułowymi telefonami, podczas gdy oczy reszty świata skierowane są jednak w stronę smartfonów składanych. Jak to jednak z patentami bywa, jego zarejestrowanie nie jest równoznaczne z tym, że takie urządzenie ostatecznie powstanie. Równie dobrze może nie pojawić się nigdy.
Google złożyło patent o nazwie Modular Device. Może to oznaczać, że firma wciąż myśli nad skonstruowaniem smartfona, którego podzespoły wybierze sam użytkownik.
LG G5 - modułowy smartfon trafia do sprzedaży
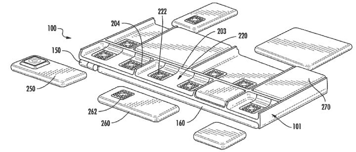
Tak naprawdę Google złożyło w tej materii aż dwa patenty. Pierwszy z nich przedstawia ramę, będącą swoistym korytkiem dla komponentów takich jak pamięć czy bateria. Co ciekawe nie tylko tył smartfona, ale także przód jest elastyczny pod względem dopasowywania podzespołów. W patencie Google wygląda to tak, że wymienialny byłby również wyświetlacz jak i przednia kamera. Same zaś podzespoły (choć nie jest to opisane w patencie) przylegałyby do siebie jak i do obudowy, prawdopodobnie dzięki stykom magnetycznym. Drugi patent mocno przypomina zaś projekt Ara, gdzie wewnątrz tylnego panelu urządzenia każdy z przewidzianych komponentów miał dokładnie swoje wyżłobienie, w którym miały być umieszczone podzespoły.
Project Ara, czyli modułowy smartfon oficjalnie na konferencji Google
Warto przypomnieć, że projekt Ara był początkowo kierowany przez zespół Zaawansowanych Technologii i Projektów w ramach Motorola Mobility, podczas gdy ten był podporządkowany firmie Google, jednak później, w 2016 roku gigant porzucił realizację projektu wraz z odsprzedaniem Motoroli firmie Lenovo (za 2,91 miliardów dolarów). Najwyraźniej jednak wciąż ostatecznie nie chce zrezygnować z modelu modułowego smartfona, co powinno ucieszyć świadomych konsumentów, którzy chcieliby stworzyć swoje autorskie urządzenie, spełniające konkretne wymagania.
Powiązane publikacje

Apple iPhone 17 to najlepiej sprzedający się smartfon w Q1 2026. Wyprzedził modele Pro i budżetowce od Samsunga
68
Smartfony Google Pixel 11 jednak nie będą nudne? Modele Pro mają otrzymać coś na wzór interfejsu Glyph
21
Premiera vivo X300 FE. Oto nowy smartfon z wyższej półki, który zaskoczy Cię kompaktowym designem
42
Jubileuszowy iPhone z ekranem quad-curved i technologią COE. Apple szuka nowej drogi do bezramkowego frontu
36







![Patent Google: firma rozważa zbudowanie modułowego smartfona [3]](https://www.purepc.pl/image/news/2019/02/13_patent_google_firma_rozwaza_zbudowanie_modulowego_smartfona_2.jpg)
![Patent Google: firma rozważa zbudowanie modułowego smartfona [1]](https://www.purepc.pl/image/news/2019/02/13_patent_google_firma_rozwaza_zbudowanie_modulowego_smartfona_0.jpg)
![Patent Google: firma rozważa zbudowanie modułowego smartfona [2]](https://www.purepc.pl/image/news/2019/02/13_patent_google_firma_rozwaza_zbudowanie_modulowego_smartfona_1.jpg)





